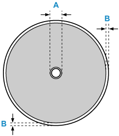
الأقراص القابلة للطباعة
تبدأ منطقة الطباعة الخاصة بالقرص القابل للطباعة عليه بعد 17 مم (0,67 بوصة) من القطر الداخلي إلى ما قبل القطر الخارجي لسطح الطباعة بمقدار 1 مم (0,04 بوصة).

المنطقة القابلة للطباعة
- A: 17,0 مم (0,67 بوصة)
- B: 1,0 مم (0,04 بوصة)

